洁净压缩空气微生物检测新“利器”—全自动压缩空气微生物采样器
发布时间:2016-08-26 浏览次数:13426 分享:
随着制药生产技术的不断升级,洁净压缩空气作为工艺源气越来越广泛地应用于社会的各行各业,除了药品制造,洁净压缩空气还大量应用于诸如啤酒酿造等食品加工行业中。因直接接触原辅料或内包装材料,压缩空气源微生物限度达标与否成为直接影响产品质量的重要因素。其中《药品生产质量管理规范》(GMP)第二十五条就明确指出“与药品直接接触的干燥用空气、压缩空气和惰性气体应经净化处理,符合生产要求”,但直到目前,国内外还没有统一法定的医药级压缩空气质量标准,各企业标准和制备技术参差不齐,严重影响药品质量。
自压缩空气应用于生产以来,其微生物检测方法一般有三个:第1个:平皿接触法,该方法是比较传统、原始的检测方法。即将气体采样口灭菌后调节气体流速,置平皿于采样口下方,让平板培养基暴露在气体流中,暴露时间为2分钟,平板置37℃培养箱培养两天后,进行菌落计数。第2个,水吸收法:配置0.85%的生理盐水200ml于取样瓶包裹灭菌待用。取样口灭菌并调节气体流速,连接取样瓶上方的胶管,使气体通过导管进入0.85%的生理盐水中,气体中的微生物将溶于0.85%的生理盐水中,被洗涤后的空气通过排气口排出,时间为2分钟,置37℃培养箱培养两天后,进行菌落计数。第三,气体微生物采样器法,即借助压缩空气采样器检测压缩空气中的微生物气体,以下主要介绍压缩空气采样器的采样方法。
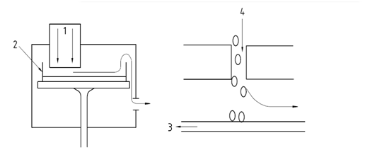
目前,压缩空气采样器法主要参考的依据为《ISO 8573-7压缩空气标准》。其提及的狭缝式采样器(即一种嵌入式空气测试仪),空气通过进气口撞击到平皿上,下落到平皿培养基,记录琼脂培养基暴露到压缩空气中的时间。(如下图)

注明:
1 进气口
2 旋转带有琼脂的有盖培养皿
3 气体出风口
4 气体
以上三种方法,平皿接触法简单易行,但收环境影响因素较大,尤其在细菌容易滋生的潮湿和温度较高的环境中。在吹气过程中,没有经过减压与外界环境空气形成的强对流,影响了检测效果的真实性。而水吸收法,其前期准备工作较为繁琐,对设备的要求高必须要特别制作;取样时气体流速调节不稳定,而且并非所有微生物都会被截留到水中,实验结果亦不足反应压缩空气中的微生物浓度。最后,对于狭缝式采样器采样法,较之前两种方法有其明显的优势。压缩气体得到减压,不会与外环境形成对流。而且培养皿置于仪器内,外环境的影响较少。但其也有一明显缺点,其采用旋转培养皿的暴露方法,由于培养皿圆周部位与圆心的部位角速度相差较大,所以,培养皿圆心部位的暴露时间会较圆周部位要长,造成的结果就是菌落计数是,圆心部位微生物菌落会重合。
针对狭缝式采样器的不足,广东环凯微生物科技有限公司研发出新一代针孔式压缩空气微生物采样器。其采用安德森撞击原理,压缩空气经过降压限流处理后,气流中的微生物撞击扶着在培养皿中琼脂培养基的表面。

图一.环凯CG100A压缩空气微生物采样器
不同于狭缝式压缩空气微生物采样器,环凯CG100A型压缩空气微生物采样器采用多孔式采样设计,压缩空气降压限流后均匀的采样孔,微生物撞击到平板培养基上,狭缝式采样器微生物的分布不均匀的问题得到解决;而Feller校验表明,开孔数量越多,则平皿上的菌落数越接近压缩空气中微生物的实际含量。
另外,得益于现代电子、计算机和通信技术的发展,环凯CG100A实现了作业自动化,设定采样体积、采样速度等参数后,自动完成取样。

图二.环凯CG100A压缩空气微生物采样器采样头盖
目前,环凯CG100A型压缩空气微生物采样器主要应用于检测压缩气体中的微生物;可广泛应用于食品、饮料、药品及医院等行业中压缩空气的检测。
原理:
全自动压缩空气微生物采样器CG100A是基于安德森撞击原理。压缩气体经降压限流处理后,气流中的微生物撞击附着在培养皿中琼脂培养基的表面。完成采样后,将该培养皿移到培养箱内培养,然后确定菌落总数。
产品特点:
1.自动化设计:设备操作简单,作业自动化,达到设定采样体积后即可自动停止采样;
2.内置气流流量和压力传感器:检测压缩气体压强范围在0-1MPa之间,可轻松实现稳定的气流速度,即常规100 L/min和高流速200 L/min,优化了撞击速度,使假阳性结果得到控制,从而保证了微生物采集效率;
3.操作界面友好直观:中英文显示菜单,大屏幕LCD显示采样量、设置采样地点代码、语言(中、英文)、日期等参数,轻触式键盘及简单易懂的操作界面;
4.高效开放性系统:无需购买特殊的试纸平板或滤纸;
5.多孔式采样头设计:采样时有效减少了尘菌重叠的可能,降低了微生物计数误差。
6.可追溯性强:每次采样运行后都自动生成唯一的记录储存在采样器,最多可储存8000页数据,可快速查询采样记录:时间、地点、采样量等参数。
7.超长使用时间:采用大容量可充式锂电池组,无容量记忆效应,安全、耐用;可连续运行24h。
技术参数:

撰稿人:数字化仪器厂 赖东明
 
 
 
 
 
 
